行业动态Industry Of Dynamics
当前位置:行业动态 > 唐山物流动态
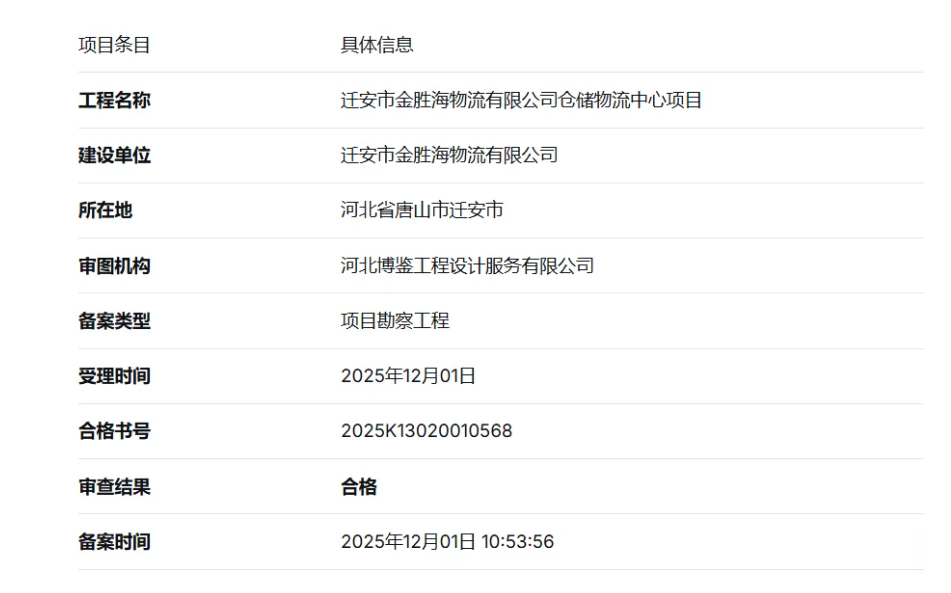
迁安市金胜海物流有限公司仓储物流中心项目 2025/12/5

“迁安市金胜海物流有限公司仓储物流中心项目”是由迁安市金胜海物流有限公司在唐山市迁安市投资建设的一项物流基础设施工程。该项目已顺利完成关键的前期技术审查环节。 

该物流中心的建设,旨在提升本地区的仓储能力和物流运转效率,预计将对完善当地供应链体系、促进商贸流通和经济发展起到积极作用。

协会电话:18903151256 协会传真:18903151256 协会邮箱:tangzuotian@dingtalk.com
协会地址:唐山市路北区唐山金融中心3号楼13层 备案号: 冀ICP备2020030258号-1
本站已被访问101118次 技术支持:物流唐山
扫一扫 关注
协会微信公众号